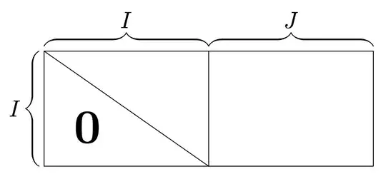
I have the following code to draw the rectangle with diagonal
\documentclass[12pt]{article}
\usepackage{geometry}
\usepackage{tikz}
\begin{document}
\begin{tikzpicture}[yscale=0.7]
\draw (0,0) rectangle (6,3) (3,3) -- (3,0) -- (0,3)
(0.4,0.4) node[above right,font=\Huge]{$\mathbf 0$}
foreach \X [count=\Y] in {} {(0,3.5-\Y) node[red,left] {$\X$}
(-0.5+\Y,3) node[red,above] {$\X$}}
foreach \X [count=\Y] in {} {(2.5+\Y,3) node[above] {$\X$}};
\end{tikzpicture}
\end{document}
Could you please help me edit above code to include the red brackets? Thank you so much for your help!

