7

Vehicles and Factories produce air-pollution like Nitrogen Dioxide (NO2) and Sulfur Dioxide (SO2).

Plants use Fertilizer with those same compounds (NO2 & SO2)

So, is there any method to capture air pollutants and recycle them as fertilizer?

Neel
  • 229
  • 1
  • 6
  • Note that this already happens without intervention, search for the term 'nitrogen deposition', and is a serious problem e.g. for diversity in plants because the plants which thrive well on large amounts of N (think nettles, grasses) tend to overgrow the smaller species which do not rely on N that much. Here's just one of many studies: https://www.sciencedaily.com/releases/2016/03/160330174216.htm – stijn Dec 16 '17 at 19:54

3 Answers3

6

You can use scrubbers to remove NO2 (or better NOX) and SO2 from exhaust gas emissions.

Scrubbers are used in large industrial facilities, power plants, and large ships to clean-up the exhaust gas emissions -- mainly in order to comply with emission thresholds. They are not applied in small-scale combustion facilities such as cars or residential heating facilities. There are different types of scrubbers.

However, scrubbers do not only remove NOX and SO2 from exhaust gas but also other air pollutants such as organic pollutants or heavy metals (as briefly described in the section 'Mercury Removal' of the Wikipedia article on scrubbers). Therefore, a recycling of scrubber water (when wet scrubbers are used) in general seems to be quite complex. However, in some applications it might be possible.

Particularly coal but also crude oil contains heavy metals, which are released during the combustion process. Natural gas / methane, in contrast, is quite pure. Therefore, exhaust gas emissions of methane combustion are cleaner with respect to heavy metals. Also in some industrial (non-combustion) applications, the removed air pollutants might be recycled.

But, using a scrubber is energy intensitive. Recycling the scrubber-output is energy intensitive. Therefore, it might not be reasonable from as sustainability-point-of-view to do that.

2

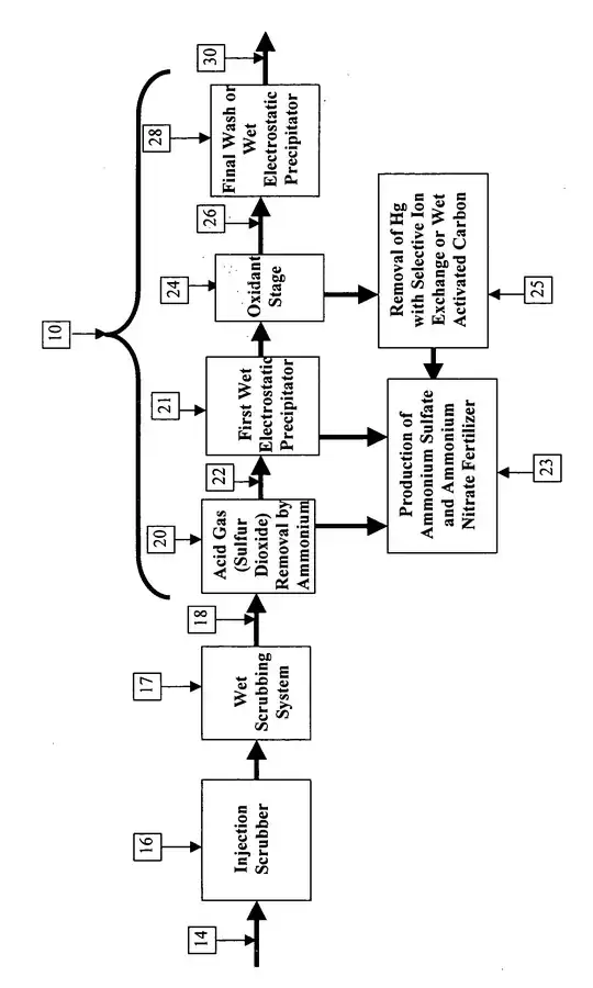
Just found a patent for this: https://www.google.com/patents/US20070154374

Method for removing sulfur dioxide and other acid gases, mercury, and nitrogen oxides from a gas stream with the optional production of ammonia based fertilizers

enter image description here

Neel
  • 229
  • 1
  • 6
  • A patent does not make it economical. Is this being used commercially today? – paparazzo Dec 16 '17 at 19:09
  • A patent does not make it economical: True, but it does show how to clean up the environment ! No clue, if this is available as a product today. – Neel Dec 16 '17 at 19:20
  • Converting NO2 and SO2 to solid forms for use in fertilizer does not clean up the environment. Scrubbers have been used to remove NO2 and SO2 since the 1940s due to emission standards. How to economically deal with NO2 and SO2 is totally separate. – paparazzo Dec 16 '17 at 19:47
  • A patent could be as vague as a patent troll fishing net can be. It shouldn't be used as is, as an answer. – Aus Dec 18 '17 at 19:34
0

Please state your source that fertilizer contain NO2 and SO2. Those are gases.

Remove NO2 and SO2 is required by emission laws. Scrubbers have been used for this since the 40's.

Fertilizer will contain solid forms of N and S. For example Ammonium nitrate (NH4NO3).

Convert the gas to a solid form would be expensive.

paparazzo
  • 384
  • 2
  • 11