1

In a debate, I argued that vibrational atomic movement as cause of internal energy is prominent in solids (due to their crystal structure) and it is not prominent in gases. I think this also applies to heated solids/gases, ie. heated gases will have more translational or rotational kinetic energy and not vibrational, while in solids it's the opposite. Is this true? And how can I find data to support it?

ergon
  • 725

5 Answers5

1

Generally speaking you are right.

Vibrational motion in solids is represented by phonons which can have energy very close to zero (See wiki). In molecular gases (atoms don't vibrate on their own) there is a minimum energy required to initiate vibration. It is also true that there is a minimum energy for rotation but that one is smaller.

Thus at low temperatures you will have no vibration in gasses and some vibrations in solid. At high T (above Debye T) it will not matter anymore.

Ivan Madan
  • 834
  • 4
  • 15
  • Thanks but my point is to have vibrational motion you have to have the atom/molecule inside such a forcefield that will make it vibrate, which is not possible in gases in most cases (I can't comment on extreme temperatures where the molecules go crazy). At the same time, I believe only a microstructure of strong intermolecular/interatomic forces is necessary for the atoms/molecules to vibrate. Is this true? – ergon Feb 10 '16 at 22:29
  • I am not sure I understand you. The strength of the bond between atoms is not much different in crystal and in molecules. And vibrations which I am talking about are thermal, so the thermal energy kT which "makes them vibrate" is the same as long as temperature is the same. It is only the question of the type of vibration which can exist. In crystals, low energy vibrations have with extremely large period. These you simply cannot have in molecules (i.e. gaseous state). – Ivan Madan Feb 11 '16 at 13:42
  • So if you have a single gas atom/molecule (depends on the gas) and you heat it up, it will vibrate? What is the mechanism of its vibration, given that it does not experience any force from other molecules around – ergon Feb 11 '16 at 17:27
  • atom will not vibrate. Molecules you can consider as atoms on the spring (in a very rough approximation). They are bound by chemical bond but close to equilibrium this bond behaves very much like a spring. You can initiate vibration by collision with another energetic molecule. But the vibration itself is like a vibration of the spring - it is internal property of the spring. You need only initial kink and then the vibration will go on. So for molecules this kink has to have minimum energy, otherwise vibration will not start. – Ivan Madan Feb 12 '16 at 12:06
  • I see, it's like what I had in mind: it is different the inner vibration between the atoms of a molecule and different vibration of the molecules themselves as a whole – ergon Feb 12 '16 at 21:53
1

The Equipartition Theorem states that for every energy term depending on a $n^{th}$ power of a coordinate on phase space (positions and momenta), a system will have, at temperatura $T$, avarage energy $\frac{1}{n}k_bT$.

For exemple, in a monoatomic gas we may write the energy of an atom in terms of it's momenta $$E=\frac{p_x^2}{2m}+\frac{p_y^2}{2m}+\frac{p_z^2}{2m}$$ Since we have 3 squared terms of phase space coordinates, we have an avarage energy per atom of $3\times\frac{1}{2}k_bT$, or a total energy of the gas with $N$ atoms of $\frac{3}{2}Nk_bT=\frac{3}{2}RT$. The energy here is dependent only on the molecules translation.

In a gas in which there is also vibration and rotation, new terms will show up on the energy expression above, and each squared term will add $\frac{1}{2}RT$ to the energy of the gas, which will be $$E=\frac{3}{2}RT+E_{vibration}+E_{rotation}$$ In a solid, however, the situation reverses itself. Since the atoms do not have translational or rotational dgrees of freedom, the energy equation will only include coordinates associated with vibration. And the energy will depend only on the solid's vibrational modes.

0

translational motion is caused due to UV radiations which are of less energy,also rotational motion is caused due to microwave which too is of less energy but vibrational energy is caused due to infrared which has high energy and is not possible to have at room temp. that is why we do not consider vibrational motion in degree of freedom of gases.

  • You are confused about energies associated with various spectral regions. And your conclusion I'd not quite right. – nasu May 13 '17 at 12:54
0

This animation shows the kinematics of an ideal gas.

translational motion

This is a classical statistical mechanics framework.

At most single atoms may , by the scatters, acquire a rotational energy, there is no possibility of vibration. If the little dots are molecules, there exists a bond that gives a vibrational degree of freedom.

Here is a discussion of quantum statistics , which is another story.

In this section we will discuss situations where quantum effects are important. We’ll still restrict attention to gases — meaning a bunch of particles moving around and barely interacting — but one of the first things we’ll see is how versatile the idea of a gas can be in the quantum world.

anna v
  • 233,453
0

Heat capacity of gases

Let's consider a usual gaz, ie. a diatomic gas, we will use the equipartition theorem to find its heat capacity. Its energy is

$$ E = E_{translation} + E_{rotation} + E_{vibration} $$

However, $E_{translation}$ depends on $v_x^2$, $v_y^2$, $v_z^2$, so

$$C_{translation} = \frac{3}{2}RT$$

Rotation of a diatomic molecule has two degrees of freedom, each of those depending on the rotation speed squared, so

$$C_{rotation} = RT$$

Finally, if the molecule hasn't too much energy, it acts like two harmonic oscilators, whose energy depends on the distance to the center of mass of the molecule squared, so

$$C_{vibration} = RT$$

Finally, since rotation is activated at lower temperature than vibration, if $C \in \{\frac{3}{2},\,\frac{5}{2}\}RT$, then vibration isn't activated. Else if $C = \frac{7}{2}RT$, it is prominent.

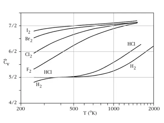
Heat capacity of diatomic gases

According to this diagram (from Wikipedia), it seems that vibration is prominent for heavy molecules, at high temperature, but we can neglect it for small molecules, or at low temperature (you could say that this diagram can't help us distinguish between rotation and vibration, yet a quantum model would confirms this).

However, there is clearly a problem in our model: we must use quantum mechanics to have better results. See for example the quantum harmonic oscillator.


Heat capacity of solids

For a solid, the Dulong-Petit experimental law states that

$$C = 3RT $$

so, according to the equipartition theorem, the internal energy of a solid depends on 6 quadratic terms. All directions are equivalent for a molecule in a solid (it can move and rotate in the three directions), so translation, rotation and vibration would contribute by a factor of $\frac{3}{2}RT$ to the heat capacity. Then, we can say that only two of these three contributions are prominent.

However, we can't say which one of them is, only based on the Dulong-Petit law: it could be vibration-rotation, vibration-translation or rotation-translation. However, using Debye or Einstein quantum model, we can confirm the hypothesis saying that the internal energy of a solid is due to translation and vibration.

Conclusion

Finally, you were right: in most solids, vibration and translation are prominent in internal energy, while in common gases, translation and rotation are prominent while vibration is negligible. Yet, in both cases, relatively complex models are needed to explain what is measured experimentaly.

Spirine
  • 2,083