TITLE: Computer-Readable Storage Medium, Information Processing System, And Information Processing Method
- App Number: 13/028,329
- Publication Number: US 2012/0146993 A1
- Assignee: Nintendo Co., Ltd.
- Prior Art Cutoff Date: predating December 09, 2010
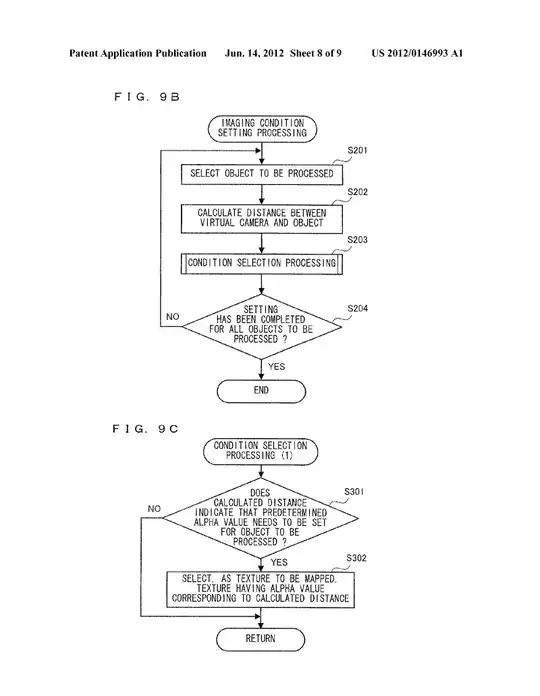
Summary: This invention sets the transparency of a virtual object based on the distance between the viewpoint and the virtual object in a virtual environment generating both left eye and right eye images. Note: transparency in this context could be interpreted to mean several related concepts, such as fading and alpha level adjusting.
Claim 1 (as filed) is:
A computer-readable storage medium having stored therein a display control program which is executed by a computer of a display control apparatus that displays a predetermined virtual space on a display apparatus capable of stereoscopic display, the display control program causing the computer to function as:
object placement means for placing a predetermined object in the virtual space;
transparency degree setting means for, in accordance with a distance specified between (1) the predetermined object placed in the virtual space, and (2) a viewpoint position based on the position of a virtual camera used for virtually shooting the virtual space, setting the degree of transparency of a part or the entirety of the predetermined object such that the longer the distance is, the higher the degree of transparency is; (emphasis added)
image generation means for generating an image for a right eye and an image for a left eye by shooting the virtual space with a right virtual camera and a left virtual camera, respectively, so that the predetermined object, which is included in each of the image for a right eye and the image for a left eye, has the degree of transparency set by the transparency degree setting means; and
display control means for displaying the image for a right eye and the image for a left eye generated by the image generation means, on the display apparatus.
Sample Figure

WHY IT MATTERS: Object transparency based on distance between a viewpoint and an object appears to have been done before, such as in the area of ray tracing.
QUESTION: Have you seen anything (published before December 09, 2010) that describes the transparency degree setting means in the manner recited in claim 1?
If so, please submit evidence of that prior art as an answer below. Please submit only one piece of prior art per answer below. We welcome multiple prior art proposals from the same individual; please create separate answers for each one. This is so the community can vet each individual piece of prior art independently.
For details about what makes good prior art, please see our FAQ. Once you have submitted prior art, check back soon to see if the Ask Patents community has chosen your prior art to be submitted to the United States Patent & Trademark Office.
If you'd like to contribute in another way, please vote or comment on submissions made below. And we welcome you to post your own request for prior art if you know of another questionable patent or patent application.
Thanks for participating!
