In 2013, this Patent Application has received a final rejection by the US Patent Office.
The rejection was based in part on prior art found by Ask Patents community below! The main reference cited by the Patent Examiner in the rejection was found by Ask Patents.
An applicant has several ways to keep an application in this state alive. They include a request for continuing examination (RCE), which involves paying more fees and responding to the rejection. Appealing the rejection is another avenue. If nothing is done it will go abandoned six months from the final rejection.
In this application, applicant requested RCE and proposed amendments to the claims. The application received another non-final rejection to which applicant responded with another amendment narrowing the claims further. According to the examiner this placed the application in condition for allowance.
Accordingly, the office issued a notice of allowance and on 01/13/2015 the application was granted US Patent No. 8,933,971.
Thanks to the YOU, the Ask Patents community, overly-broad claims have at least been narrowed. Follow @askpatents to block more overly-broad patent applications.
TITLE: Scale factors for visual presentations
- Publication Number: US 20130063492 A1
- App Number: 13/230445
- Assignee: Microsoft Corporation
- Prior Art Cutoff Date: Prior Art predating Sept 12, 2011
- Availability for Challenge: Open Until at least Sept 14, 2013
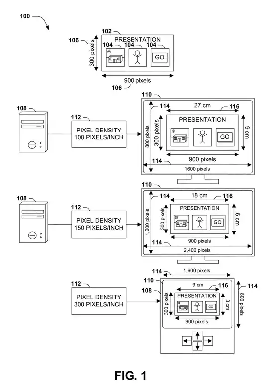
Summary: This application generates and display graphical elements based on pixel density. The invention selects a scale factor from a scale factor set that is within the range of the pixel density.
Claim 1 requires, among other things:
A method of generating, using a device having a processor, a presentation comprising elements to be displayed on a display component, the method comprising:
executing on the processor instructions configured to:
identify a pixel density of the display component;
for respective elements of the presentation:
from a scale factor set, select a scale factor having a pixel density range including the pixel density of the display component; and
request the element to generate a scaled representation using the scale factor; and
generate the presentation comprising the scaled representations of the elements.
Sample figure
WHY IT MATTERS - This application is similar to other resolution-independent scaling applications, patents, and implementations carried out in the industry.
QUESTION - Have you seen anything that was published before 09/12/2011 that discusses (1) scale factor; (2) scale factor set; and (3) pixel density range in the manner described in claim 1?
If so, please submit evidence of that prior art as an answer below. Please submit only one piece of prior art per answer below. We welcome multiple prior art proposals from the same individual; please create separate answers for each one. This is so the community can vet each individual piece of prior art independently.
For details about what makes good prior art, please see our FAQ. Once you have submitted prior art, check back soon to see if the Ask Patents community has chosen your prior art to be submitted to the United States Patent & Trademark Office.
If you'd like to contribute in another way, please vote or comment on submissions made below. And we welcome you to post your own request for prior art if you know of another questionable patent or patent application.
Thanks for participating!
