0

I'm a programmer, and got a warning letter for patent infringement from a competitor's product company.

My product is an Internet filter, and the relevant part - probably - is censoring negative words from parts of a web page.

I understand programming but not in large and vague formulations, so I find it difficult to be sure of the intention of the patent, but according to my reading it seems to be a patent for the ability to identify related elements as part of the negative identification. The patent:

https://patents.google.com/patent/WO2012098539A2

My Question: It seems ridiculous to me to patent this mechanism (why should so complicate detect and determine relatd part in the DOM?!), Am I wrong? Is this legally acceptable? Could it be that before the patent was patented, no one had done the so banal thing? Is it possible to call such an idea, which is entirely a regular solution of a computer problem, an original idea?

EDIT:

I took from the patent the "problem", the desired result, and the "Algorithm".

NOTE: The claim is based entirely on the fact that my product reaches the same result.

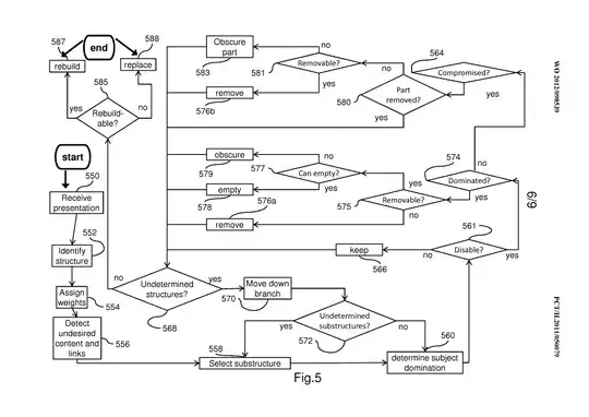
The page with the problematic text Source Code enter image description here The **Algorithm**

dovid
  • 103
  • 4
  • 1
    Which patent number did they mention? What you cite is a PCT application, not a patent. While warning about applications does have legal value, afaik it's not done much. –  Aug 17 '18 at 22:42
  • @DonQuiKong thank, i'm dont understand the difference, and what about this: https://patents.google.com/patent/WO2012098539A2, same? – dovid Aug 18 '18 at 18:56
  • 1
    Same. https://patents.stackexchange.com/q/17115/18033 read the answer to this question –  Aug 18 '18 at 19:24
  • 1
    Was it maybe this one: https://patents.google.com/patent/US9529896B2/en that's the granted US version of the first pct application. I suppose you are in the US? –  Aug 19 '18 at 07:47

1 Answers1

1

The document you linked to is not a patent, it is a patent application. Since claims are usually changed and narrowed during the prosecution of a patent application it is hard to know whether you will infringe on the subsequent patent is or when it is issued. You can't enforce applications, only patents. However, I did find a US patent associated with this application family: US9529896B2.

In order to infringe on a patent, you must implement each and every step of at least one claim. Here is the first claim of US9529896B2.

  1. A method for on-line filtering of undesired content from a presentation built from a source code and for displaying the filtered presentation to a user comprising:

    a) identifying a plurality of structures and a plurality of substructures of at least one structure of said plurality of structures in the source code; said at least one structure having a beginning marked by a first marker and an end marked by a second marker; each substructure of said plurality of substructure having a respective beginning marker and wherein each said respective beginning marker is located between said first marker and said second marker and wherein each of said plurality substructures beginning with said respective beginning marker ends with a respective end marker;

    b) detecting the undesired content in said plurality of substructures;

    c) determining at least one substructure dominated by said undesired content;

    d) disabling said at least one substructure according to said determining; said disabling resulting in a a sanitized structure, without the undesired content;

    e) removing said sanitized structure from said presentation when said sanitized structure does not correspond to said structure such that displaying said sanitized structure in the presentation would make the user aware of said disabling and arouse a curiosity of the user of said presentation towards a said undesired content;

    f) sending said source code including an outcome of said disabling and said removing; to an output device for rebuilding and display to the user;

    g) performing a first action when a combination of a first word and a second word is detected between said respective beginning marker and said respective end marker of a single substructure of said plurality of substructures: and

    h) performing a second action different from said first action and when first word is in said single substructure and said second word is not in said single structure and said second word is in another substructure of said plurality of substructures.

As you can see, this is a very long and detailed claim. Long claims are actually considered narrower than short ones since you only need to avoid a single step to keep from infringing on it. For instance if a claim has steps a, b, c and d and you only implement a, b and d, you should avoid infringement. However if you implement a, b, c, d and e (new stuff), you will infringe. The other independent claim is claim 7 which is also quite long. You know your process better than I do so compare what you are doing to these two claims and see if you are avoiding at least one step in each.

Since you received a warning letter, I think you absolutely need to consult with a patent attorney. The attorney can provide an assessment of freedom to operate of your implementation and how to respond to the patent holder.

Eric S
  • 11,122
  • 2
  • 12
  • 34