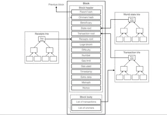
Does anyone understand what each element of a block header represents? I have an example block header represented here:
[
cd7bd64fba4cc782fe5474d3640882afece5887180591e72f80ce6916cf73526,
1dcc4de8dec75d7aab85b567b6ccd41ad312451b948a7413f0a142fd40d49347,
f927a40c8b7f6e07c5af7fa2155b4864a4112b13,
30430d24554454b251003be3d027dea94397bf45cd34c6a06abcfec662242046,
56e81f171bcc55a6ff8345e692c0f86e5b48e01b996cadc001622fb5e363b421,
56e81f171bcc55a6ff8345e692c0f86e5b48e01b996cadc001622fb5e363b421,
00000000000000000000000000000000000000000000000000000000000000000000000000000000000000000000000000000000000000000000000000000000000000000000000000000000000000000000000000000000000000000000000000000000000000000000000000000000000000000000000000000000000000000000000000000000000000000000000000000000000000000000000000000000000000000000000000000000000000000000000000000000000000000000000000000000000000000000000000000000000000000000000000000000000000000000000000000000000000000000000000000000000000000000000000000000,
3b32b8463f,
1780,
1388,
"",
55ba9f2d,
"Geth/v1.0.0/linux/go1.4.2",
437fa41b15c73334a947241ec885423a487d4401a0c3ec7c30550c1e039bccd7,
c5317acb884dfc49,
]
What do each of these elements represent? Is there an official source that also definitively says what each of these values mean?
