< SRE < Dc-operations 
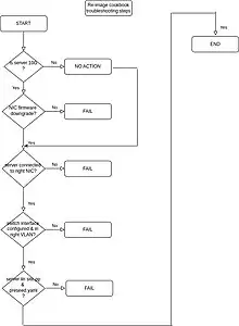
SRE/Dc-operations/Re-image cookbook troubleshooting

This article is issued from Wikimedia. The text is licensed under Creative Commons - Attribution - Sharealike. Additional terms may apply for the media files.