Experimentul Fizeau
Experimentul Fizeau a fost efectuat de către Hippolyte Fizeau în 1851 pentru a măsura vitezele relative ale luminii în apă aflată în mișcare. Fizeau a folosit un aranjament special de interferometru pentru a măsura efectul mișcării unui mediu asupra vitezei luminii.

Conform teoriilor existente la momentul respectiv, lumina ce trece printr-un mediu în mișcare ar fi trasă de acel mediu, astfel încât viteza măsurată a luminii ar fi o simplă sumă a vitezei acesteia prin mediu plus viteza mediului. Fizeau a detectat într-adevăr un efect de glisare, dar magnitudinea efectului pe care el l-a observat a fost mult mai mică decât se aștepta. Rezultatele sale sprijineau aparent ipoteza antrenării eterului(d) a lui Fresnel, ceva dezamăgitor pentru cei mai mulți fizicieni. Avea să treacă peste o jumătate de secol până când a apărut o explicație satisfăcătoare a măsurătorii lui Fizeau odată cu apariția de teoriei relativității restrânse a lui Albert Einstein. Einstein avea mai târziu să sublinieze importanța experimentului Fizeau pentru relativitatea restrânsă.
Deși acesta este numit experimentul Fizeau, Fizeau a fost un experimentator activ, care a efectuat o mare varietate de diferite experimente care implică măsurarea vitezei luminii în diferite situații.
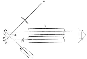
Instalația experimentală

O rază de lumină provenind de la sursa S' se reflectă printr-un separator de fascicule(d) G și este colimată(d) într-un fascicul paralel de către lentila L. După trecerea prin fantele O1 și O2, două raze de lumină trec prin tuburile O1 și O2, prin care apa este curge înainte și înapoi așa cum este indicat de săgeți. Razele sunt reflectate de o oglindă m în focarul lentilei L', astfel încât o rază întotdeauna se propagă în același sens cu fluxul de apă, și cealaltă în sens opusă față de direcția curentului de apă. După trecerea înainte și înapoi prin tuburi, ambele raze se unesc în S, unde se produc franje de interferență, care pot fi vizualizate prin ocularul ilustrat. Modelul de interferență poate fi analizat pentru a determina viteza luminii de-a lungul fiecărui tub.[P 1][P 2][S 1]
Coeficientul de antrenare Fresnel
Se presupune că apa curge prin conducte cu viteza v. Potrivit teoriei nerelativiste a eterului luminifer, viteza luminii ar trebui să fie mai mare când este „trasă” de-a lungul apei, și mai mică atunci când ea întâmpină „rezistența” apei. Viteza de ansamblu a unei raze de lumină ar trebui să fie obținută prin adunarea vitezei luminii în raport cu apa, și viteza apei.
Adică, dacă n este indicele de refracție al apei, astfel încât c/n este viteza luminii în apa staționară, atunci viteza luminii w pe unul din tuburi ar trebui să fie
și cea din celălalt tub,
Prin urmare, lumina ce merge împotriva curgerii apei ar trebui să fie mai lentă decât lumina care merge în sensul curgerii apei.
Modelul de interferență între cele două fascicule obținut atunci când lumina este recombinată la observator depinde de timpul de parcurgere a celor două căi, și poate fi folosit pentru a calcula viteza luminii în funcție de viteza apei.[S 2]
Fizeau a constatat că
Cu alte cuvinte, lumina părea într-adevăr să fie trasă de apă, dar fenumenul era mult mai mic decât era de așteptat.
Experimentul Fizeau i-a forțat pe fizicieni să accepte validitatea empirică a unei ipoteze vechi, teoretic nesatisfăcătoare, a lui Augustin-Jean Fresnel (1818), care a fost invocată pentru a explica un experiment din 1810 al lui Arago(d), și anume ideea că un mediu în mișcare prin eterul aflat în staționare trage după el și lumina ce se propagă prin aceasta cu doar o fracțiune din viteza mediului, cu coeficientul f dat de
În 1895, Hendrik Lorentz a prezis existența unui termen suplimentar datorat dispersiei:[S 3]:15–20
Repetări

Albert A. Michelson și Edward W. Morley (1886)[P 3] au repetat experimentul Fizeau cu precizie îmbunătățită, abordând mai multe probleme pe care le avea experimentul Fizeau original: (1) Deformarea componentelor optice în aparatul lui Fizeau putea provoca o deplasare artifactuală a franjelor; (2) observațiile au fost făcute în grabă, deoarece debitul de apă sub presiune dura puțin timp; (3) profilul de curgere laminară a apei prin tuburile de diametru mic ale lui Fizeau însemna că erau disponibile numai porțiunile lor centrale, ceea ce producea franje slabe; (4) existau incertitudini în determinările lui Fizeau ale debitului pe diametrul tuburilor. Michelson a reproiectat aparatul lui Fizeau cu tuburi de diametru mai mare și cu un rezervor de mare capacitate care furniza un debit de apă constant timp de trei minute. Interferometrul său cu cale comună(d) făcea o compensare automată a lungimii căii, astfel încât franjele de lumină albă erau vizibile imediat ce elementele optice erau aliniate. Din punct de vedere topologic, calea luminii era aceea dintr-un interferometru Sagnac(d) cu un număr par de reflecții pe fiecare cale a luminii.[S 4] Astfel, franjele obținute erau extrem de stabile față de cele din designul lui Fizeau (care a folosit un număr impar de reflecții), și care erau complet insensibile la orice mișcare a componentelor sale optice. Stabilitatea era suficientă pentru a se putea introduce și un geam de sticlă în punctul h sau chiar să se țină un chibrit aprins în calea luminii, fără a deplasa centrul sistemului de franje. Folosind acest aparat, Michelson și Morley au putut confirma pe deplin rezultatele lui Fizeau.[P 3]
Alte experimente au mai fost efectuate și de către Pieter Zeeman în 1914-1915. Folosind o versiune la scară mai mare a aparatului lui Michelson, conectat direct la conducta principală de apă din Amsterdam, Zeeman a reușit să efectueze măsurători extinse folosind lumină monocromatică variind de la violet (4358 Å) până la roșu (6870 Å) pentru a confirma lui coeficientul modificat al lui Lorentz.[P 4][P 5] În 1910, Franz Harress folosit un dispozitiv rotitor și în general a confirmat coeficientul de antrenare Fresnel. Cu toate acestea, în plus, el a găsit o „polarizare sistematică” a datelor, care avea apoi să fie identificată ca efectul Sagnac(d).[S 5]
De atunci, s-au efectuat multe experimente de măsurare a coeficienților de antrenare, de multe ori în combinație cu efectul Sagnac.[S 6] De exemplu, în experimentele folosind laseri cu inel(d) împreună cu discuri rotative,[P 6][P 7][P 8][P 9] sau în experimente cu interferometre de neutroni(d).[P 10][P 11][P 12] S-a observat și un efect de antrenare transversală, de exemplu, atunci când mediul este în mișcare în unghi drept față de direcția luminii incidente.[P 13][P 14]
Experimentul Hoek
O confirmare indirectă a coeficientului de antrenare Fresnel a fost furnizat de către Martin Hoek(d) (1868).[P 15][S 7] Aparatul său era similar cu cel al lui Fizeau, deși în versiunea acestuia, un singur braț conținea o zonă plină de apă în repaus, în timp ce celălalt braț era în aer. Din punctul de vedere al unui observator aflat în repaus față de eter, Pământul și, prin urmare, apa, este în mișcare. Deci Hoek a calculat următorii timpi de călătorie a celor două raze de lumină în direcții opuse (neglijând direcția transversală, a se vedea imaginea):
|
|
![]() Hoek se aștepta ca spectrul observat să fie continuu când aparatul este orientat transversal față de vântul eteric, și să prezinte benzi când aparatul este orientat paralel cu vântul. În experimentul real, el nu a observat benzi în nicio orientare a instrumentului. |
Timpii nu sunt la fel, ceea ce ar trebui să fie indicat de o deplasare a interferenței. Cu toate acestea, dacă coeficientul de antrenare Fresnel se aplică apei în sistemul de referință al eterului, diferența de timp de parcurgere (de ordinul întâi în v/c) dispare. Folosind diferite setări, Hoek a obținut de fapt un rezultat nul, confirmând coeficientul de antrenare Fresnel. (Pentru un experiment similar care a demonstrat că posibilitatea de ecranare a vântului eteric, vezi experimentul Hammar(d)).
În versiunea particulară a experimentului, prezentată aici, Hoek a folosit o prismă P pentru a dispersa lumina de la o fantă într-un spectru care a trecut printr-un colimator C , înainte de intrarea în aparat. Cu aparatul orientat paralel cu vântul eteric ipotetic, Hoek se aștepta ca lumina într-un circuit să fie întârziată cu 7/600 mm, în raport cu celălalt. Acolo unde această întârziere reprezenta un număr întreg de lungimi de undă, el se aștepta să vadă interferențe constructive; acolo unde această întârziere reprezenta un număr semiîntreg de lungimi de undă, el se aștepta să vadă interferențe distructive. În absența antrenării, așteptările sale erau ca spectrul observat să fie continuu cu aparatul orientat transversal față de vântul eteric, și să prezinte benzi cu aparatul orientat paralel cu vântul eteric. Rezultatele experimentale reale au fost complet negative.[P 15][S 7]
Controverse
Deși ipoteza lui Fresnel reușea să explice empiric rezultatele lui Fizeau, mulți experți în domeniu, inclusiv Fizeau însuși (1851), Éleuthère Mascart(d) (1872), Ketteler (1873), Veltmann (1873), și Lorentz (1886) considerau cu toții că ipoteza lui Fresnel a antrenării parțiale a eterului are niște baze șubrede. De exemplu, Veltmann (1870) a demonstrat că formula lui Fresnel implică faptul că eterul ar trebui să fie tras cu valori diferite în cazul luminii de culori diferite, deoarece indicele de refracție depinde de lungimea de undă; Mascart (1872) a demonstrat un rezultat similar pentru lumina polarizată care traversează un mediu birefringent. Cu alte cuvinte, eterul ar fi trebuit să fie capabil se miște simultan în direcții diferite.[S 8]
Nemulțumirea lui Fizeau față de rezultatul propriului său experiment este ușor sesizabilă în încheierea raportului său:
Mi se pare că succesul experimentului face necesară adoptarea ipotezei lui Fresnel, sau cel puțin a legii pe care el a găsit-o pentru expresia modificării vitezei luminii prin efectul mișcării unui corp; pentru că, deși faptul că această lege a fost găsită ca fiind adevărată poate fi o dovadă foarte puternică în favoarea ipotezei căreia îi este doar o consecință, probabil, concepția lui Fresnel ar părea atât de extraordinară, și, în unele privințe atât de dificilă, încât să admitem că va mai fi nevoie de alte dovezi și de o analiză profundă din partea geometricienilor, înainte de a o adopta ca pe o expresie a faptelor ale acestui caz.[P 1]
În ciuda nemulțumirii majorității fizicienilor față de ipoteza lui Fresnel a antrenării parțiale a eterului, repetiții și îmbunătățiri pentru experimentul său făcute de alții au confirmat rezultatele cu precizie mare.
În afară de problemele ipotezei antrenării parțiale a eterului, o altă problemă majoră a apărut odată cu experimentul Michelson–Morley (1887). În teoria lui Fresnel, eterul este aproape staționar, așa că experimentul ar fi dat un rezultat pozitiv. Cu toate acestea, rezultatul acestui experiment a fost negativ. Astfel, din punct de vedere al modelelor eterului existente la acel moment, situația experimentală era contradictorie: Pe de o parte, aberația luminii, experimentul Fizeau și repetarea lui de către Michelson și Morley în 1886 păreau a sprijini antrenarea parțială a eterului. Pe de altă parte, experimentul Michelson–Morley din 1887 părea să demonstreze că eterul este în repaus în raport cu Pământul, susținând aparent ideea antrenării complete a eterului.[S 9] Astfel, însuși succesul ipotezei lui Fresnel în explicarea rezultatelor lui Fizeau a contribuit la intrarea într-o criză teoretică, care nu a fost rezolvată până la dezvoltarea teoriei relativității restrânse.[S 8]
Interpretarea lui Lorentz
În 1892, Hendrik Lorentz a propus o modificare a modelului lui Fresnel, în care eterul este complet staționar. El a reușit să calculeze coeficientul de antrenare Fresnel ca urmare a interacțiunii dintre apa în mișcare cu o apă neantrenată.[S 9][S 10]:25–30 El a descoperit și că trecerea de la un sistem de referință la altul ar putea fi simplificată prin utilizarea unei variabile auxiliare de timp pe care el a numit-o timp local:
În 1895, Lorentz a explicat mai general coeficientul lui Fresnel pe baza pe conceptului de timp local. Cu toate acestea, teoria lui Lorentz avea aceeași problemă fundamentală ca și Fresnel: eterul staționar contrazicea experimentul Michelson–Morley. Astfel, în 1892 Lorentz a propus ideea că corpurile în mișcare se contractă în direcția de mișcare (denumită ipoteza contracției FitzGerald-Lorentz, întrucât George FitzGerald(d) ajunsese deja în 1889 la această concluzie). Ecuațiile pe care el le-a folosit pentru a descrie aceste efecte au fost dezvoltate în continuare de el până în 1904. Acestea sunt acum numite în cinstea lui transformări Lorentz, și sunt identice în formă cu ecuațiile pe care Einstein avea să le calculeze mai târziu din primele sale principii. Spre deosebire de ecuațiile lui Einstein, transformările lui Lorentz erau strict ad-hoc, singura lor justificare fiind că păreau să funcționeze.[S 9][S 10]:27–30
Calculul în relativitatea restrânsă
Einstein a arătat cum ecuațiile lui Lorentz ar putea fi obținute ca urmare a două postulate logice și foarte simple. Einstein a recunoscut că conceptul de eter în staționare nu are loc în relativitatea restrânsă, și că transformările Lorentz se referă la natura spațiului și timpului. Împreună cu problema magnetului și conductorului în mișcare(d), experimentele negative cu antrenarea eterului(d), și cu aberația luminii, experimentul Fizeau a fost unul dintre principalele rezultate experimentale care au modelat teoria lui Einstein despre relativitate.[S 11][S 12] Robert S. Shankland(d) relata unele conversații cu Einstein, în care Einstein sublinia importanța experimentului Fizeau:[S 13]
„El continua să spună că rezultatele experimentale care-l influențaseră cel mai mult au fost observațiile aberației stelare și măsurătorile lui Fizeau asupra vitezei luminii în apă în mișcare. „Au fost suficiente”, spunea el.”
Max von Laue (1907) a demonstrat că coeficientul de antrenare Fresnel poate fi ușor explicat ca o consecință naturală a formulei relativiste pentru compunerea vitezelor(d),[S 14] și anume:
- Viteza luminii în apa în repaus este c/n.
- Din legea de compunere a vitezelor(d) rezultă că viteza luminii observate în laborator, acolo unde apa se deplasează cu viteza v (în aceeași direcție ca și lumina) este
- Astfel, diferența de viteză este (presupunând că v este mic în raport cu c, și anulând astfel termenii la puteri mai mari)
- Aceasta este exactă atunci când v/c ≪ 1, și este în acord și cu formula bazată pe măsurătorile lui Fizeau, care satisfăceau condiția v/c ≪ 1.
Experimentul lui Fizeau este, prin urmare, o dovadă pentru cazul coliniaral formulei lui Einstein de compunere a vitezelor.[P 16]
Referințe
Surse secundare
- Mascart, Éleuthère Élie Nicolas (). Traité d'optique. Paris: Gauthier-Villars. p. 101. Accesat în .
- Robert Williams Wood (). Physical Optics. The Macmillan Company. p. 514.
- Pauli, Wolfgang () [1921]. Theory of Relativity. New York: Dover. ISBN 0-486-64152-X.
- Hariharan, P. (). Basics of Interferometry, 2nd edition. Elsevier. p. 19. ISBN 0-12-373589-0.
- Anderson, R.; Bilger, H.R.; Stedman, G.E. (). „Sagnac effect: A century of Earth-rotated interferometers”. Am. J. Phys. 62 (11): 975–985. Bibcode:1994AmJPh..62..975A. doi:10.1119/1.17656.
- Stedman, G. E. (). „Ring-laser tests of fundamental physics and geophysics”. Reports on Progress in Physics. 60 (6): 615–688. Bibcode:1997RPPh...60..615S. doi:10.1088/0034-4885/60/6/001.
- Rafael Ferraro (). „Hoek's experiment”. Einstein's Space-Time: An Introduction to Special and General Relativity. Springer. pp. 33–35. ISBN 0-387-69946-5.
- Stachel, J. (). „Fresnel's (dragging) coefficient as a challenge to 19th century optics of moving bodies”. În Kox, A.J.; Eisenstaedt, J. The universe of general relativity. Boston: Birkhäuser. pp. 1–13. ISBN 0-8176-4380-X. Accesat în .
- Janssen, Michel; Stachel, John (), „The Optics and Electrodynamics of Moving Bodies” (PDF), În John Stachel, Going Critical, Springer, ISBN 1-4020-1308-6
- Miller, A.I. (). Albert Einstein's special theory of relativity. Emergence (1905) and early interpretation (1905–1911). Reading: Addison–Wesley. ISBN 0-201-04679-2.
- Lahaye, Thierry; Labastie, Pierre; Mathevet, Renaud (). „Fizeau's "aether-drag" experiment in the undergraduate laboratory”. American Journal of Physics. 80 (6): 497. arXiv:1201.0501
. Bibcode:2012AmJPh..80..497L. doi:10.1119/1.3690117. - Norton, John D., John D. (), „Einstein's Investigations of Galilean Covariant Electrodynamics prior to 1905”, Archive for History of Exact Sciences, 59: 45–105, Bibcode:2004AHES...59...45N, doi:10.1007/s00407-004-0085-6
- Shankland, R. S. (). „Conversations with Albert Einstein”. American Journal of Physics. 31 (1): 47–57. Bibcode:1963AmJPh..31...47S. doi:10.1119/1.1969236.
- N David Mermin (). It's about time: understanding Einstein's relativity. Princeton University Press. pp. 39 ff. ISBN 0-691-12201-6.
Surse primare
- Fizeau, H. (). „Sur les hypothèses relatives à l'éther lumineux”. Comptes Rendus. 33: 349–355.
- Fizeau, H. (). „Sur les hypothèses relatives à l'éther lumineux”. Ann. Chim. Phys. 57: 385–404.
- Michelson, A. A.; Morley, E.W. (). „Influence of Motion of the Medium on the Velocity of Light”. Am. J. Sci. 31: 377–386.
- Zeeman, Pieter (). „Fresnel's coefficient for light of different colours. (First part)”. Proc. Kon. Acad. Van Weten. 17: 445–451. Bibcode:1914KNAB...17..445Z.
- Zeeman, Pieter (). „Fresnel's coefficient for light of different colours. (Second part)”. Proc. Kon. Acad. Van Weten. 18: 398–408. Bibcode:1915KNAB...18..398Z.
- Macek, W. M. (). „Measurement of Fresnel Drag with the Ring Laser”. Journal of Applied Physics. 35 (8): 2556–2557. Bibcode:1964JAP....35.2556M. doi:10.1063/1.1702908.
- Bilger, H. R.; Zavodny, A. T. (). „Fresnel Drag in a Ring Laser: Measurement of the Dispersive Term”. Physical Review A. 5 (2): 591–599. Bibcode:1972PhRvA...5..591B. doi:10.1103/PhysRevA.5.591.
- Bilger, H. R.; Stowell, W. K. (). „Light drag in a ring laser – An improved determination of the drag coefficient”. Physical Review A. 16: 313–319. Bibcode:1977PhRvA..16..313B. doi:10.1103/PhysRevA.16.313.
- Sanders, G. A.; Ezekiel, Shaoul (). „Measurement of Fresnel drag in moving media using a ring-resonator technique”. Journal of the Optical Society of America B. 5 (3): 674–678. Bibcode:1988JOSAB...5..674S. doi:10.1364/JOSAB.5.000674.
- Klein, A. G.; Opat, G. I.; Cimmino, A.; Zeilinger, A.; Treimer, W.; Gähler, R. (). „Neutron Propagation in Moving Matter: The Fizeau Experiment with Massive Particles”. Physical Review Letters. 46 (24): 1551–1554. Bibcode:1981PhRvL..46.1551K. doi:10.1103/PhysRevLett.46.1551.
- Bonse, U.; Rumpf, A. (). „Interferometric measurement of neutron Fizeau effect”. Physical Review Letters. 56 (23): 2441–2444. Bibcode:1986PhRvL..56.2441B. doi:10.1103/PhysRevLett.56.2441. PMID 10032993.
- Arif, M.; Kaiser, H.; Clothier, R.; Werner, S. A.; Hamilton, W. A.; Cimmino, A.; Klein, A. G. (). „Observation of a motion-induced phase shift of neutron de Broglie waves passing through matter near a nuclear resonance”. Physical Review A. 39 (3): 931–937. Bibcode:1989PhRvA..39..931A. doi:10.1103/PhysRevA.39.931. PMID 9901325.
- Jones, R. V. (). „'Fresnel Aether Drag' in a Transversely Moving Medium”. Proceedings of the Royal Society A. 328 (1574): 337–352. Bibcode:1972RSPSA.328..337J. doi:10.1098/rspa.1972.0081.
- Jones, R. V. (). „"Aether Drag" in a Transversely Moving Medium”. Proceedings of the Royal Society A. 345 (1642): 351–364. Bibcode:1975RSPSA.345..351J. doi:10.1098/rspa.1975.0141.
- Hoek, M. (). „Determination de la vitesse avec laquelle est entrainée une onde lumineuse traversant un milieu en mouvement”. Verslagen en mededeelingen. 2: 189–194.
- Laue, Max von (), „Die Mitführung des Lichtes durch bewegte Körper nach dem Relativitätsprinzip” [The Entrainment of Light by Moving Bodies in Accordance with the Principle of Relativity], Annalen der Physik, 328 (10): 989–990, Bibcode:1907AnP...328..989L, doi:10.1002/andp.19073281015
